Atwood Rv Stove Parts Diagram

Atwood Wedgewood Ca 35 Sparklite Burner And Ignition Repair Kits Pdxrvwholesale

Atwood Wedgewood Ca 35 Sparklite Burner And Ignition Repair Kits Pdxrvwholesale

Https Myrvworks Com Wp Content Uploads 2019 04 Range Service Manual Pdf

Https Myrvworks Com Wp Content Uploads 2019 04 Range Service Manual Pdf

Atwood Wedgewood Rv Stove Manual

Atwood Wedgewood Rv Stove Manual

Atwood Wedgewood Stove Manual

Atwood Wedgewood Stove Manual

Trekwood Rv Parts Outback 2005 Appliances Range

Trekwood Rv Parts Outback 2005 Appliances Range

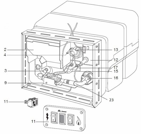
Atwood Rv 2131 Match Light High Sky Rv Parts

Atwood Rv 2131 Match Light High Sky Rv Parts

Atwood Rv 2131 Match Light High Sky Rv Parts

Atwood 57109 rv stove venturi burner tube center 6 55.

Atwood rv stove parts diagram.

Atwood wedgewood oval and round squeeze grate kit 56501. Atwood stove range knobs clips. Atwood wedgewood 1 4 oven gas assembly kit 52704. Atwood wedgewood stove range parts.

Atwood wedgewood oval squeeze grate 56379. Order atwood stove parts to repair or maintain your rv range or oven. 51031 bifold hinge repair kit 15 65 54800 232577 piezo replacement 3 88 atwood 51062 stove regulator 41 99 atwood 56471 black 3 burner drop in cooktop 255 00 238 99 sale. Stove and range parts.

The atwood brothers continued their success in the burgeoning auto business by manufacturing door hinges and seat adjusters. Atwood ranges sold by rv parts online canada. At boat rv accessories we carry affordable atwood stove replacement parts for every need including range covers door panels knob kits and more. Atwood stove range burners.

As travel trailers became popular atwood entered the rv market with a trailer coupler in 1936 the screw type trailer jack in 1949 and surge brakes in 1960.

Atwood Furnace Parts View Pdxrvwholesale

Atwood Furnace Parts View Pdxrvwholesale

Atwood Furnace Model 8531 Iv Parts Pdxrvwholesale

Atwood Furnace Model 8531 Iv Parts Pdxrvwholesale

Atwood Water Heater Model G6a 8e Parts Pdxrvwholesale

Atwood Water Heater Model G6a 8e Parts Pdxrvwholesale

Atwood Rv 1732 Piezo Ignition High Sky Rv Parts

Atwood Rv 1732 Piezo Ignition High Sky Rv Parts

Atwood Water Heater Model Gch6a 10e Parts Pdxrvwholesale

Atwood Water Heater Model Gch6a 10e Parts Pdxrvwholesale

Atwood Oven Range Cooktop Manuals Pages 1 31 Text Version Anyflip

Atwood Oven Range Cooktop Manuals Pages 1 31 Text Version Anyflip

Rv 1732 Vision Range Rv 2132 Vision Range Ntp Distribution

Rv 1732 Vision Range Rv 2132 Vision Range Ntp Distribution

Dometic Stove Oven Door 51884 Highskyrvparts Com

Dometic Stove Oven Door 51884 Highskyrvparts Com

Atwood Water Heater Model Gh6 7e Parts Pdxrvwholesale

Atwood Water Heater Model Gh6 7e Parts Pdxrvwholesale

Atwood Stove Range Highskyrvparts Com

Atwood Stove Range Highskyrvparts Com

Magic Chef Bt22ma 4tz Range Parts Sears Partsdirect

Magic Chef Bt22ma 4tz Range Parts Sears Partsdirect

Atwood Furnace Model 8940 Dc Iii Parts Pdxrvwholesale

Atwood Furnace Model 8940 Dc Iii Parts Pdxrvwholesale

Atwood Stove Range 52815 Highskyrvparts Com

Atwood Stove Range 52815 Highskyrvparts Com

Atwood Water Heater Model G9 Ext Parts Pdxrvwholesale

Atwood Water Heater Model G9 Ext Parts Pdxrvwholesale

Dometic Atwood Rv 2135bbp Oven 3 Burner Stove 9 000btu Front And 6 500 Btu Rear Burners 21 1 4 W X 22 5 16 H Stoves Range Burner Stove Camping Stove

Dometic Atwood Rv 2135bbp Oven 3 Burner Stove 9 000btu Front And 6 500 Btu Rear Burners 21 1 4 W X 22 5 16 H Stoves Range Burner Stove Camping Stove

Atwood Water Heater Model Gch10a 4e Parts Pdxrvwholesale

Atwood Water Heater Model Gch10a 4e Parts Pdxrvwholesale

Atwood Water Heater Model Gc6a 7e Parts Pdxrvwholesale

Atwood Water Heater Model Gc6a 7e Parts Pdxrvwholesale

Rv 1735bg P X 2 17 Atwood Wedgewood Piezo Oven Range Stove Vision Series Black

Rv 1735bg P X 2 17 Atwood Wedgewood Piezo Oven Range Stove Vision Series Black

Https Encrypted Tbn0 Gstatic Com Images Q Tbn 3aand9gcqbfhkis Kovkq1nfc3dw7gmq4i Emnlmokff3qurumwsvxdes7 Usqp Cau

Https Encrypted Tbn0 Gstatic Com Images Q Tbn 3aand9gcqbfhkis Kovkq1nfc3dw7gmq4i Emnlmokff3qurumwsvxdes7 Usqp Cau

Atwood 52177 3 Burner High Output Cv 35 Bpn Slide In Stove Top Piezo Notched Boat And Rv Accessories

Atwood 52177 3 Burner High Output Cv 35 Bpn Slide In Stove Top Piezo Notched Boat And Rv Accessories

Suburban Drop In Cooktop 2 Burner Black

Suburban Drop In Cooktop 2 Burner Black

Atwood Furnace Model Afmd25111 Parts Pdxrvwholesale

Atwood Furnace Model Afmd25111 Parts Pdxrvwholesale

Atwood Furnace Model 8525 Ii Parts Pdxrvwholesale

Atwood Furnace Model 8525 Ii Parts Pdxrvwholesale

Atwood Furnace Model 7912 Ii Parts Pdxrvwholesale

Atwood Furnace Model 7912 Ii Parts Pdxrvwholesale

Source : pinterest.com